Материал нашел и подготовил к публикации Григорий Лучанский
Источник: А. Шепелев, инженер. Как устроить русскую глинобитную печь. «Сельский строитель» №1, 1958 г.
При строительстве домов колхозники часто испытывают острую нужду в кирпиче для кладки печей. Однако практика показала, что хорошую и удобную русскую печь для варки пищи и отопления можно устроить не только из кирпича, но и из глинобита (рис. 1). Такая печь при хорошем уходе за ней служит очень долго.
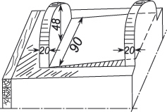
Глинобитная печь состоит из шестка, который переходит в чело, и горнила. Со стороны шестка устраивается устье (очелок). Стенки печи делаются толщиной 20—25 сантиметров. Горнило имеет длину 95 сантиметров, ширину 90 сантиметров; высоту задней части 51 сантиметр и передней — 48. Под устраивается с уклоном к задней части горнила, он приподнят на 2—3 сантиметра (рис 2).
Для устройства устья в виде пологой арки (рис. 2), надо изготовить шаблон из дощатого щита или фанеры. Такие же шаблоны делаются и для полуциркульных стенок (рис. 3).
На рисунке 4 дан разрез шестка и чела. На разрезе видны чело, вьюшки или задвижки, отверстие для самоварника шириной 10 сантиметров и отбойный козырек, напоминающий букву Г (4). Для удаления сажи устраиваются прочистки (5) размером 13х13 сантиметров.
Шесток размещается от пола на высоту 80—85 сантиметров, что в основном зависит от высоты внутренней части дома. Можно делать шесток несколько ниже.
Прежде чем приступить к устройству печи надо подготовить для нее необходимый материал — глину.
Для печи не все глины пригодны. Жирные не годятся, так как они, высыхая, сильно трескаются. Тощие глины не имеют достаточной прочности. Лучшими являются средние по жирности.
Определять качество глины можно так: надо сделать обычный кирпич-сырец и положить его серединой на ребро ладони или палку. Кирпич, изготовленный из хорошей жесткой глины, не прогибается (рис 5).
Если под рукой имеются только жирные глины, то в них добавляют овражный или речной песок. В тощую же глину необходимо добавить немного жирной.
Перед тем, как пустить глину в работу ее предварительно надо тщательно размять, сделать однородной, удалив из нее растительные примеси и камни. Для печи указанного на рисунке 1 размера глины требуется в среднем 3,5 кубометра. Приготовляют глину так: насыпают ее в таком количестве, чтобы после мятья получился очень жесткий слой в 15 сантиметров, затем утрамбовывают, деревянной трамбовкой, разминая и перемешивая. Трамбовать следует весьма сильно, чтобы глина получилась однородной. На хорошо утрамбованной глине не остается следов от ног. Если глина давно вынута из карьера и пересохла, в нее добавляют воду, в свежевынутую — не добавляют.

Рис. 1. Общий вид и разрезы печи.
1 — чело, 2 — устье (очелок), 3 — горнило, 4 — под, 5 — шесток, 6 — подпечье, 7 — деревянные брусья, 8 — песок, 9 — земля, 10 — дощатый настил, 11 — задвижки.
Рис. 2. Форма устья в виде пологой арки.

Рис. 3. Форма полуциркульных стенок.
Рис. 4. Разрез шестка и чела,
1 — чело, 2 — вьюшка или задвижки, 3 — самоварник, 4 — отбойный козырек, 5 — прочистки.
Для работы необходим следующий инструмент. Весок (гирька, привязанная к шнуру), линейка или правило, длиной 190 сантиметров, ватерпас, лопата с прямым концом, нож, валек для уплотнения глины, скребок и трамбовка (рис. 6).
Рис 5. Определение жесткости глины. 1 — хорошая глина, 2 — удовлетворительная.
Рис. 6. Инструменты.
1 — весок, 2 — линейка, 3 — ватерпас, 4 — валек, 5 — скребок, 6 — лопата, 7 — нож, 8 — трамбовка.
Рис. 7. Устройство низа печи.
Приступая к устройству печи, прежде всего надо сделать прочное основание из бутового камня или дерева; на основание кладут деревянный настил, который хорошо смазывают густой глиной слоем в два сантиметра и приступают к кладке стенок под шесток и под (рис. 7). Стенки доводят до верхней части пода и шестка.
Предварительно приготовленная глина нарезается полосами шириной 20 сантиметров, которые затем режут на прямоугольные бруски (кирпичи) длиной 30—40 сантиметров. Бруски срезают на ус с одной или двух сторон и вырезают часть глины так, что бы при соединении брусков образовалось сопряжение, как в деревянных деталях в полдерева.
Кладка брусков ведется с перекрытием швов (8). Бруски кладут рядами по всему периметру печи (последовательность показана цифрами), плотно, прижимая друг к другу и дополнительно уплотняя вальком, которым наносят сильные удары по верху и по боковым сторонам. После выравнивания кладки скребком срезают лишнюю глину и стенки проверяют на горизонтальность линейкой, а на вертикальность веском.
При укладке последующего ряда глиняных брусков нижележащие бруски водой не смачивают.
После того, как стенки подняты высотой до пода, на доски, уложенные на основание, насыпают землю слоем 25 и более сантиметров и тщательно ее трамбуют и выравнивают. Затем насыпают и трамбуют песок, смешанный с гравием. В эту смесь можно добавить немного битого стекла для лучшего нагрева пода. Толщина слоя песчано-гравийной засыпки 15—18 сантиметров. Уровень слоя засыпки должен быть ниже уровня стенок на 6—10 сантиметров, т.е. на толщину пода.
Пространство под будущим шестком также засыпают землей так, чтобы между ней и отметкой уровня шестка оставался промежуток высотой 15—20 сантиметров для глиняных брусков. Землю тщательно утрамбовывают и укладывают на нее глиняные бруски. Затем уплотняют и выравнивают их, проверяя ватерпасом.
После этого приступают к устройству пода. Если он делается из глины, то нарезают опять бруски-кирпичи и укладывают их плотно друг к другу, полностью заполняя все пространство пода и тщательно разравнивая и уплотняя их. Кладка должна выступать из-за уровня стенок не менее чем на три сантиметра. Излишки глины срезают на конус, оставляя к задней стенке пода подъем в два-три сантиметра (рис 9). Если под делается из кирпича, то в песчано-гравийной подсыпке устраивают подъем с таким расчетом, чтобы к задней стенке пода кирпич поднимался из-за уровня стенок на два-три сантиметра и сходил к устью на конус.
Затем устраивают полуциркульные стенки для горнила. Бруски глины укладывают на ранее устроенные стены, тщательно их уплотняют и выравнивают, обрезая скребком и проверяя вертикальность веском. К стенкам приставляют выполненные на бумаге или картоне шаблоны свода для задней и передней частей, очерчивают их гвоздем или другим острым предметом и обрезают излишки глины ножом, получая две полуокружности: одну впереди высотой от уровня пода 48 сантиметров, другую сзади в 51 сантиметр (рис. 10).
В дальнейшем в передней полуокружности вырезают отверстие — устье. Форму устья можно устраивать полуциркульной или в виде пологой арки. Ширина устья должна быть 40 сантиметров, высота 32 сантиметра (рис. 11). Иногда полуциркульную форму делают более крутой (см. пунктир на рис. 3).
Желательно в устье вставить металлическую раму. Она послужит опорой для стенки и упором для заслонки. Заслонки бывают чугунные и литые и продаются обычно вместе с рамой, также чугунной. Бывают заслонки из кровельной стали, но они чаще всего продаются без рамы. Раму можно изготовить самим из полосовой стали. При этом необходимо вычертить форму рамы на листе фанеры, деревянном щите или на бумаге, определить длину полосы, пробить в ней несколько отверстий и обязательно два по краям, изогнуть раму точно по чертежу. Затем вставить в отверстие рамы гвозди, загнуть их концы, поставить раму на место, закрепить по краям гвоздями или кусками арматурной проволоки, заполнить ее внутреннюю часть кирпичом или глиной и обложить сверху глиняными брусками, но так, чтобы гвозди были зажаты глиной и шляпки их плотно прижимались к раме.

Рис. 8. Порядок кладки стенки.

Рис. 9. Устройство пода.

Рис. 10. Устройство полуциркульных стенок
Раму можно также изготовить из арматурной проволоки толщиной от 7 миллиметров и больше. В этом случае проволоку выгибают точно по чертежу. Изогнув три — пять штук, связывают проволокой их вместе, выпускают три-четыре конца длиной по 15—20 сантиметров, загибают их и вставляют в устье (рис. 12).

Рис. 11. Форма устья в виде арки. 1 — бумага.
Рис. 12. Рамы. l — из полосового железа, 2 — из арматурной проволоки

Рис. 13. Форма брусков для устройства сводов.
После того, как полуциркульные стенки горнила сделаны, приступают к кладке его боковых стенок.
Для устройства стенок овода из глины нарезают бруски нужного размера и формы (рис. 13), укладывают их рядами по всему периметру печи, тщательно уплотняя вальком. У шестка оставляют с двух сторон щечки или скулы. Иногда их делают только с одной стороны (рис. 14).
Порядок укладки глиняных брусков для образования свода показан на рисунке 15а. Заложил стенки свода до уровня полуокружности и оставив не закрытым верх свода, вырезают из глины два бруска (5 и 6) такого размера, чтобы они при укладке в свод выступали на 5 сантиметров и образовывали замок (рис. 15б). По этим брускам наносят сильные удары вальком, уплотняя и сжимая их. Бруски, сжимаясь, плотно прилегают к ранее уложенным (15в). Вместо двух замковых брусков можно ставить один.
Свод можно делать с помощью опалубки. Она устраивается из двух деревянных щитов полуциркульной формы.
Щиты изготовляют так: в деревянный щит или фанеру вбивают гвоздь и веревкой обводят половину окружности радиусом в 45 сантиметров. Для нужной высоты свода к полуокружности добавляют еще несколько сантиметров: для передней стенки — 3, для задней — 5—6. Иногда своду придают более крутую форму, как это намечено пунктиром (рис. 3). Щиты ставят на две доски с проложенными между ними клиньями (рис. 16a). Сверху на щиты кладутся доски, длиной 115 сантиметров, то есть они должны выступать из горнила на 20 сантиметров. Во время работы опалубку устанавливают следующим образом: сначала на под кладут широкую доску, на нее клинья, на клинья еще доску, а на доску ставят полуциркульные щиты.
Рис. 14. Передняя сторона печи. 1 — щечки.
Рис. 15. Свод.
а — порядок устройстве свода, б — устройство замковых брусков в своде, в — положение кусков глины после уплотнения.
Рис 16. Устройство сводов по опалубке.
а — деревянная стенка, б — стенка с дощатой опалубкой, в — стенка о опалубкой из жердей. 1 — клинья, 2 — доски.
Рис 17. Перекрытие шестка. 1 — брусок.
Со стороны устья переднюю стенку следует укрепить, чтобы она не упала. Нарезав из глины бруски, укладывают их на опалубку так, как было описано выше и тщательно уплотняют. Такую опалубку удобно разбирать. Сначала вынимают клинья, затем одну из досок. Распилив бруски, скрепляющие доски в двух местах, вынимают полуциркульные щиты.
Опалубку лучше всего покрыть сверху бумагой в один-два слоя, это облегчает ее снятие с глины (рис. 16б). Можно опалубку сделать из тонких жердей, также смазав ее сначала глиной и затем накрыв бумагой.
Закончив свод, приступают к зачистке стенок и верха печи. Одновременно с устройством стенок делают и печурки, обычно размером 20х20 или 20х25 сантиметров. Глубина их должна быть такой, чтобы стенки свода под ними были толщиной не менее 12 сантиметров.
Шесток устраивается шириной 60—70 сантиметров, высотой 44 сантиметра. Стенки перед шестком выкладывают со щечками (скулами) или без них, иногда только с одной стороны.
При устройстве свода стенки, ограничивающие шесток, перекрывают на высоте 44 сантиметров от шестка полосовым железом шириной 5 сантиметров, толщиной 1—1,5 сантиметра, длиной от 1 до 1,2 метра. Можно вместо полосового железа взять тонкий рельс (от узкоколейной дороги) или два уголка сечением 50х50 миллиметpoв. Если этих материалов нет, то можно положить деревянный брусок, который с трех сторон надо обернуть двумя слоями войлока, пропитанного глиной и обить кровельным железом. Лучше, если деревянный брусок смазать глиной и обернуть листовым асбестом с последующей оковкой кровельным железом (рис. 17).
Положив на перекрытие шестка брусок, поверх его выкладывают стенки чела, затем перекрывают его с двух сторон, положив глиняные пластины: с левой стороны шириной в 25 сантиметров и с правой — в 40 сантиметров. Между ними оставляется пространство не менее 25 сантиметров (рис. 18). Слева на пластинку опирают вертикальную стенку толщиной в 10 сантиметров; она отгораживает дымоход для самоварника, который должен иметь ширину 15 сантиметров. С правой стороны пластину кладут для того, чтобы уложить на нее глиняный козырек толщиной и высотой в 15 сантиметров. В результате образуется как бы коробка, которая предохраняет шесток от попадания на него из трубы сажи (рис. 19).
В передней стенке чела для самоварника делают круглое отверстие диаметром 15 сантиметров, но так, чтобы его нижняя часть была на одном уровне с уложенной плитой. Тут же в передней стенке или в боковой точно на таком же уровне следует сделать отверстие размером 13х13 сантиметров для прочистки и удаления с козырька сажи. Внутри чело хорошо зачищается, это обеспечивает лучшую очистку дымоходов от сажи.
Стенку, отделяющую дымоход от самоварника, ведут нужной высоты по вертикали, а затем делают ее горизонтальной и опускают вниз.
Таким образом, стенка напоминает собой букву Г. Нижний конец ее (отбойный козырек) делается высотой с внутренней стороны в 6—10 сантиметров, но может быть и больше. Козырек должен находиться от ближайшей к нему стенки чела и от верха нижнего козырька не ближе 26 сантиметров.
Отбойный козырек может быть и больше, он гасит попавшие с дымом искры и не дает вылетать им из трубы.
Между козырьком и стенкой устанавливают две или только одну задвижку, выдвигаемую с передней или задней стороны печи. Задвижки должны иметь размер 26х26 сантиметров. Если вместо задвижки ставится вьюшка, то дверцу укрепляют с лицевой стороны в более удобном для открывания месте, или в крайнем случае с задней стороны чела. Вьюшка берется с отверстием диаметром 23 сантиметра. Меньший диаметр не желателен.
В боковой стенке чела, против горизонтального дымохода самоварника устраивают прочистку; верх чела перекрывают глиняными брусками. До потолка чело не доходит на 25 сантиметров (рис. 20). Труба устраивается из тех же глиняных брусков, но на расстоянии 6—10 сантиметров от потолка кладку ведут уже из кирпича Причем, делают ее из шести кирпичей с дымоходом в 25х25 сантиметров или из пяти кирпичей, с дымоходом наполовину меньшим (рис. 21). Труба из шести кирпичей лучше.
В местах примыкания трубы к дереву разделку можно делать без изоляции, толщиной 38 сантиметров, считая от дыма. С изоляцией толщина разделок может быть в 25 сантиметров.
Выполнив полностью свод и выровняв верх печи, бруски, скрепляющие стенки, распиливают, клинья и осевшие щиты с опалубкой осторожно вынимают. Затем исправляют под и заделывают глиняными брусками открытую часть горнила, укладывая их под свод в такой последовательности, как это указано на рисунке 22. Бруски надо сильно уплотнить, а верхние — 4, 8, 9, 10, 11, 12, 13 — заклинить.
Готовая печь просушивается три-пять дней. Затем в нее кладут немного сухих дров и зажигают их. Когда дрова сгорят, печь оставляют открытой. Нагреваясь, глина начнет выделять много пара, который должен выходить через трубу. Через 6—8 часов после первой топки следует сделать вторую, но тоже сжигая небольшое количество дров. Затем топку повторяют через сутки и проводят ее в течение 5—6 дней, то есть, до тех пор, пока печь полностью не просохнет. После этого приготовляют сухие дрова, мелко колят их и производят первую «настоящую» топку. Во время этой топки происходит не только окончательная сушка печи, но и обжиг глины с внутренней стороны горнила. Раскаленные угли следует равномерно распределить по всему поду, что необходимо также для образования прочной обожженной корки на поде. Хорошо протопленную печь закрывают. Через день топку повторяют. Правильная сушка и обжиг обеспечивают прочность и монолитность печи. Лицевые стороны зачищают и затирают раствором из извести, глины и песка. После просыхания раствора печь белят за два-три раза известью, разведенной на снятом молоке, получая прочную не пачкающую краску.

Рис. 18. Устройство чела
Рис. 19. Устройство самоварника и нижнего козырька.1 — самоварник.

Рис. 20. Разрез передней части печи-чела. 1 — потолок, 2 — задвижка, 3 — прочистка.
Рис. 21. Кладка трубы в шесть и пять кирпичей.
Рис. 22. Устройство закрытия передней стенки.
Назад в раздел