При помощи осадкомеров измеряются суммы осадков за некоторый промежуток времени. Поэтому при отсутствии дополнительных наблюдений не представляется возможным получить данные о закономерностях временного распределения сумм осадков внутри этих промежутков.
Непрерывные во времени измерения сумм осадков производятся с помощью приборов, получивших название «плювиографы». В настоящее время предложено большое количество систем плювиографов. Некоторые из них используются в практике сетевых наблюдений, а другие применяются только для специальных измерений.
Плювиографы состоят из трех основных узлов: системы для сбора осадков, механизма для измерения их сумм и регистраторов сумм осадков во времени (см. рис. 8, 9, 10). Узлы плювиографов для сбора осадков принципиально и конструктивно ничем не отличаются от аналогичных устройств осадкомеров. Поэтому погрешности узлов плювиографов, предназначенных для сбора осадков, аналогичны погрешностям соответствующих систем осадкомеров. Однако ветровой недоучет осадков у плювиографов, как правило, больше, чем у осадкомеров. Связано это с тем, что механизм прибора для регистрации сумм осадков приходится размещать в кожухе, в результате чего нижняя часть прибора имеет диаметр больше, чем верхняя, что вызывает большее искажение воздушного потока. Например, стандартный плювиограф, применяемый в США, регистрирует на 2,5 – 6 % осадков меньше, чем осадкомер. Аналогичные результаты получены при сравнении плювиографа Стевенса с цилиндрическим осадкомером: плювиограф регистрирует на 5,5% осадков меньше, чем осадкомер.
Непосредственные измерения показали, что у применяемого в Советском Союзе плювиографа П-2 ветровой недоучет также почти в 2,5 раза больше, чем у осадкомера.
По механизмам, измеряющим суммы осадков во времени, плювиографы можно подразделить на пять основных типов: поплавковые, весовые, челночные, камерные (клапанные) и резисторные. Кроме того, предложено большое количество конструкций, основанных на использовании различных комбинаций указанных типов.
Наиболее простыми системами плювиографов для измерения распределения осадков во времени являются поплавковые (рис. 8). Они состоят из камеры 4 с поплавком, в которую через воронку 2 поступает вода. Высота подъема поплавка, перемещающегося по направляющим 3, однозначно соответствует количеству воды, попавшей в камеру. По такому принципу устроены плювиограф П-2, применяющийся в Советском Союзе; плювиографы Ришара, Гельмана, Фусса, плювиограф фирмы Стевенса в США и плювиографы других конструкций, не получившие широкого распространения.
При полном заполнении камеры водой и при достижении поплавком верхнего уровня для продолжения работы прибора воду из камеры необходимо удалить. Это достигается либо вручную, при помощи крана 5 (рис. 8а), либо при помощи различных автоматически действующих приспособлений. Наибольшее распространение получили методы слива, основанные на использовании сифона в (рис. 8 б). При заполнении камеры до определенного уровня вода через сифон начинает выливаться. Слив продолжается до тех пор, пока уровень воды не достигнет нижнего края входного отверстия сифона.
Для увеличения надежности работы сифонов в некоторых конструкциях применяются устройства, обеспечивающие резкое изменение уровня воды в камере за счет принудительного опускания поплавка или сифона. Управление этими механизмами осуществляется самим поплавком при достижении им верхнего положения. В некоторых конструкциях слив осуществляется через специальный кран, открывающийся при помощи электромагнита.
Для расширения динамического диапазона поплавковых приборов предложено устройство, которое при превышении заданного значения интенсивности осадков направляет часть воды в другую камеру, также представляющую собой плювиограф аналогичной конструкции. Для нормального функционирования приборов в поплавковой камере всегда должно находиться некоторое количество воды, достаточное для поддержания поплавка на плаву. Во время искусственного или автоматического слива осадки не регистрируются. Часть воды, попадающей в это время в прибор, также сливается, что при интенсивных осадках приводит к значительным (до 100%) ошибкам в измерении интенсивности.
Весовой плювиограф основан на измерении массы (веса) выпавших осадков. В большинстве конструкций применяются рычажные (или пружинные) весы. Слив воды из камер весовых приборов производится так же, как и в поплавковых системах. В научной литературе появилось описание ряда конструкций плювиографов, в которых непосредственно измеряется не вес собранной воды, а ее давление на дно осадкособирающего сосуда.
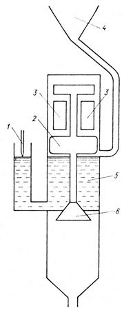
В последнее время широкое применение нашли челночные плювиографы. Принцип действия челночного плювиографа приведен на рис. 9. Собранная приемником осадков вода через воронку 4 попадает в челнок, имеющий секции 3 и 5. Челнок свободно вращается на оси 4 и может принимать два устойчивых положения, опираясь на ограничители 2 и 6. На рисунке приведено то положение челнока, когда секция 5 находится под воронкой 4. При попадании в секцию 5 некоторого определенного количества осадков челнок перекидывается и опирается на ограничитель 6, а находящаяся в нем вода сливается. При заполнении водой секции 3 челнок снова перекидывается. Так как перекидывание челнока происходит при определенном количестве воды, то число отдельных перекидываний может служить мерой количества выпавших осадков.
Некоторой разновидностью челночной системы являются устройства, состоящие как бы из одной половинки челнока, а другая является противовесом. В этих системах при заполнении челнока до определенного уровня происходит его быстрое опрокидывание, слив воды и возвращение челнока в исходное состояние. Для ускорения процесса слива в системе перекидывание челнока производится при помощи электромагнита.
К приборам, основанным на челночном принципе, относятся плювиографы, применяемые в автоматических метеостанциях СССР, плювиографы, применяемые в Польше, национальных метеослужбах Франции, Канады, Швеции, Австрии, Англии, Италии, США и Японии.
К достоинствам приборов, основанных на челночном принципе, относится их высокая надежность, так как любые примеси в осадках вымываются из прибора и, кроме того, имеется возможность простой передачи данных на расстояние (по проводам, радио). К недостаткам следует отнести ряд ошибок, обусловленных процессом измерения. При частичном наполнении челнока по окончании осадков он не опрокидывается, что приводит к занижению количества выпавших осадков. При интенсивных осадках во время перекидывания челнока часы, воды успевает перелиться в уже начавшую опорожняться половину челнока. Например, если челнок опрокидывается при слое выпавших осадков, равном 0,2 мм, и если каждое опрокидывание длится 0,2 с, то при интенсивности осадков 25 мм/ч и их длительности 5 мин, будет потеряно 8 % общей суммы слоя осадков. Однако с усовершенствованием систем эти ошибки можно существенно снизить. В модели челночного плювиографа, которым планируется оснастить метеорологическую сеть во Франции, при интенсивности осадков 15 – 60 мм/ч погрешность не превышает 4%, а при интенсивности 250 мм/ч возрастает до 10%.
Для исключения ошибок такого рода в некоторых конструкциях при перекидывании челнока сливной патрубок воронки (рис. 9) закрывается специальным затвором. Применение затворов несколько ухудшает эксплуатационные характеристики прибора, так как не исключено их частичное или полное засорение. Для уменьшения времени перекидывания челнока может быть использована кинетическая энергия струн воды. Нужно отметить, что челночные системы, в отличие от поплавковых, чувствительны к ориентации прибора. При различной высоте ограничителей 5 и 6, вызванной наклоном вертикальной оси прибора, перекидывание происходит при различных количествах собранных осадков. Для исключения ошибок такого рода в конструкции советской автоматической метеостанции весь механизм челнока помещен на карданном подносе. Благодаря противовесу вся система всегда ориентируется строго вертикально.
Камерные плювиографы работают по тому же принципу, что и челночные, т. е. уловленная влага разделяется на отдельные порции определенного объема. Принцип действия приборов этого типа хорошо прослеживается на приборе (рис. 10). Вода из приемника 4 поступает в камеру 5, закрытую снизу клапаном 6. При выпадении осадков вода достигает некоторого уровня, что регистрируется электрическим контактом. В момент достижения этого уровня под действием электромагнита 3 поршень 2 и клапан 6 опускаются вниз. Поршень 2 перекрывает входное отверстие и открывает сливное, в результате прекращается поступление воды из приемника 4, а вода, находящаяся в камере 5, сливается. После слива воды и возвращения поршня и клапана в исходное положение цикл повторяется. Регистрация количества циклов производится так же, как и в челночных системах. Количество сливов является мерой выпавших осадков.

Рис. 10. Схема клапанного плювиографа.
1 -регистратор уровня, 2- поршень, 3 - электромагниты, 4 - приемная воронка, 5 - камеры для воды, 6 - клапан.
У некоторых камерных плювиографов удаление воды из камеры производится при помощи насоса. В этом случае за меру осадков берется количество оборотов насоса.
Точность камерных приборов в несколько раз выше, чем челночных. Например, ошибка определения количества осадков челночными приборами автоматической метеостанции УАТГМС-4 составляет ± (0,5 + 0,05Q) мм, где Q – количество измеренных осадков (мм), в то время как у камерных систем ошибка равна ± (0,1+0,02Q) мм. Камерный прибор имеет еще большую точность (его ошибки не превышают ±0,001Q).
В последнее время появились резисторные плювиографы, принцип действия которых основан на измерении электрического сопротивления между помещенными в некоторый сосуд электродами при заполнении его выпадающими осадками. Так как электрическое сопротивление электродов берется много больше, чем сопротивление воды осадков, то изменения в сопротивлении самой воды осадков незначительно сказываются на показаниях.
Именно по такому принципу построены приборы, предложенные в работах.
Приборы этого типа достаточно сложны и энергоемки. По-видимому, этим объясняется то, что они не получили распространения.
Все способы регистрации количества выпавших осадков при помощи описанных выше систем можно разбить на три вида: 1) запись количества выпавших осадков в каждый момент времени; 2) запись интервалов времени, в течение которых выпадает заданное количество осадков; 3) запись сумм осадков, выпавших за заданный короткий интервал времени. Специальных определений для этих видов записи не установлено, поэтому в дальнейшем, как предлагается, будем их различать по номерам (рис. 11). В поплавковых плювиографах в основном применяется запись вида 1. Уровень воды в поплавковой камере непрерывно регистрируется на диаграммной ленте, равномерно передвигающейся при помощи часового механизма или электромотора. Для передачи показаний приборов по проводам поплавки соединяются с ползунком потенциометра.

В челночных и камерных приборах регистрация в основном производится по схеме 2, т. е. на диаграммной ленте фиксируется каждое опрокидывание челнока. Передача показаний прибором по проводам производится в виде импульсов, соответствующих каждому отдельному опрокидыванию челнока или срабатыванию клапана камеры. В некоторых системах дополнительно ведется регистрация общего числа импульсов.
В приборах, предназначенных для дистанционных массовых измерений, наиболее удобен вид записи 3, который позволяет легко кодировать и передавать по проводам или радио данные о количестве осадков за равные, заранее определенные и синхронные интервалы времени. Такой принцип записи реализован в системах.
Приборы для сетевых наблюдений рассчитаны на непрерывную запись в течение 24 ч или недели. При специальных наблюдениях в целях увеличения разрешающих способностей систем скорость записи увеличивается, так что общее время непрерывной записи составляет 6 ч. Разработана система и для непрерывной записи в течение 6 – 12 месяцев. В этой системе отсчет времени суток производится с помощью фотоэлемента по смене дневной и ночной освещенности прибора.
Большое количество разработанных систем плювиографов не позволяет выбрать из них «наилучшую», пригодную для измерения во всех возможных ситуациях. По-видимому, из-за многообразия выпадающих осадков создание универсального прибора, пригодного для всех ситуаций, вряд ли возможно. Выбор принципа измерения и регистрации осадков, а также конструкции прибора должен основываться на анализе условий выпадения осадков. Только в этом случае можно достаточно обоснованно судить о преимуществе различных систем или конструкций. Например, в районах, где преобладают кратковременные ливни, неискаженные результаты могут быть получены при помощи камерных систем плювиографов. В районах с продолжительными осадками небольшой интенсивности более точные результаты можно получить при использовании поплавковых систем. В районах, где жидкие осадки в основном перемежаются с твердыми, предпочтение следует отдать системам, основанным на измерении массы выпавших осадков.
Из всех перечисленных выше систем только весовые плювиографы, в которых осадки попадают непосредственно в сосуд для взвешивания, пригодны для измерения не только жидких, но и твердых осадков. Однако весовые системы при измерении твердых осадков обладают одним существенным недостатком: после полного заполнения приемного сосуда снегом системы перестают работать. Борьба с этим явлением путем увеличения объема собирающего сосуда приводит к увеличению габаритов прибора и уменьшению чувствительности системы. Для освобождения приемных сосудов от выпавших твердых осадков их вначале расплавляют, а затем сливают. В этом приборе после попадания в приемный сосуд некоторого определенного количества осадков включается мощный нагреватель, который расплавляет собранные осадки и вода сливается. После слива воды обогреватель выключается. К недостаткам приборов этого типа следует отнести наличие больших ошибок, связанных с недоучетом осадков, выпадающих во время работы нагревателя и слива собранной воды. Для того чтобы измерять как летние (жидкие) осадки, так и зимние (твердые), причем одним и тем же прибором, многие исследователи пошли по пути, основанному на приспособлении имеющихся плювиографов для измерения жидких осадков к измерению и твердых осадков. Это достигается путем нагрева всего плювиографа, т. е. как приемника осадков, гак и измерительной системы до температуры, обеспечивающей полное плавление попавших в прибор снежинок и крупы. Плавление осуществляется сразу же после попадания твердых осадков в прибор. Для нормальной работы подогреваемого плювиографа скорость плавления должна быть достаточно большой, чтобы обеспечить полное и достаточно быстрое расплавление твердых осадков. В существующих конструкциях приборов обогрев осуществляется либо непосредственно, либо предварительно нагретой водой или маслом. Источником тепла служат или электроплитки, либо газовые или керосиновые горелки.
Тщательный анализ показал, что при использовании подогреваемых приборов допускаются большие ошибки в определении сумм осадков, обусловленные испарением частиц, попавших в прибор. Количество подводимого к воронке тепла, требующегося для испарения попавших твердых частиц, определяется температурой окружающего воздуха и интенсивностью выпадающих осадков. Если тепла недостаточно, то в приемнике образуется слой нерастаявшего снега, медленное таяние которого приводит к поступлению воды в измерительную систему уже после окончания снегопада. Если же система перегревается, то отдельные снежинки при соприкосновении с нагретой поверхностью приемника образуют изолированные мокрые пятна, которые не сливаются, а испаряются.
Однако если даже путем специального терморегулирования поддерживать температуру в системе постоянной (вне зависимости от скорости поступления воды), то и в этом случае возникают большие ошибки, обусловленные испарением влаги из приемной воронки, из поплавковых камер или челноков. Более того, когда испарение велико, что имеет место при больших дефицитах влажности, в поплавковых плювиографах будет отмечаться уменьшение суммы собранных осадков во времени. Согласно измерениям, у приборов, имеющих подогреваемые приемники, недоучет твердых осадков может достигать 40 %. Эта величина не остается постоянной и зависит также от количества и интенсивности выпадающих осадков.
Одним из способов уменьшения ошибок, вызванных испарением воды при плавлении частиц твердых осадков, является улавливание их слоем подогретого масла, а не подогретыми стенками приемных воронок. Однако мелкие снежные кристаллы могут оставаться долгое время на поверхности масла даже после плавления. Чтобы обеспечить быстрое обволакивание частиц осадков масляной пленкой, делаются специальные приспособления.
В приборе твердые осадки улавливаются цилиндром с горизонтальной осью, вращающимся с небольшой скоростью в масле. Прилипшие в верхней части цилиндра частицы переносятся в нижние слои подогретого масла, где тают и опускаются на дно приемника. Однако такая система сложна и громоздка. Кроме того, показании прибора запаздывают из-за медленного опускания в слое масла капель воды, образованных в результате расплавления снежинок. Это запаздывание зависит от микроструктуры снегопада: чем меньше эквивалентный диаметр выпадающих частиц, тем запаздывание больше. В существующих системах оно может достигать нескольких минут.
Есть несколько другой принцип измерения. Твердые осадки попадают в приемник, наполненный незамерзающим водным солевым раствором. Жидкость перемешивается мешалкой. При выпадении и плавлении частиц твердых осадков избыток раствора сливается в приемник, построенный по принципу поплавкового плювиографа.
В последнее время для измерения твердых осадков предложены системы плювиографов, основанные на несколько преобразованном весовом методе. На подстилающую поверхность укладывается плоский баллон диаметром от 1,5 до 3,7 м, в котором содержится смесь воды и метилового спирта. При выпадении на него снега в баллоне увеличивается давление, находящейся в нем смеси, которое регистрируется при помощи манометра и является мерой выпавших осадков.
Эти системы пригодны для измерения только твердых осадков, причем уже после образования устойчивого снежного покрова. В противном случае жидкие осадки скатываются с поверхности баллона, а твердые сдуваются даже незначительным ветром. После оттепелей с последующим похолоданием резко увеличивается инерция прибора, так как ледяная корка, образовавшаяся на баллоне, медленно реагирует на изменение массы снега, расположенного выше.
По аналогичному принципу построены другие приборы. На уровне поверхности земли устанавливается платформа диаметром 4 м, которая закрепляется на упругой горизонтальной штанге. Суммы выпавших осадков определяются по величине прогиба штанги под действием массы выпавшего снега. Эта конструкция так же, как и предыдущая, работает только после образования устойчивого снежного покрова и обладает темп же недостатками.
Для непосредственной записи распределения сумм града во времени П.И. Махарашвили предложил использовать обычный поплавковый плювиограф П-2, на заборник которого надевается насадок, разделяющий градины и капли воды па два потока. Вода свободно вытекает из системы, а градины попадают в сосуд, стоящий внутри приемной воронки плювиографа П-2 и наполненный до краев водой. Попадающие в сосуд градины вытесняют массу воды пропорционально их объему. Вытесненная вода затем попадает в измерительную систему плювиографа и регистрируется обычным методом.